倫特專業(yè)設計制造溫度傳感器和核測儀表,涉足工業(yè)、核電等領域,是國家級專精特新“小巨人”企業(yè)和浙江省“隱形冠軍”企業(yè).
產品概述
直形連接頭

45°連接頭

直形連接頭
| 序號 | 尺寸(mm) | ||||||||||
|---|---|---|---|---|---|---|---|---|---|---|---|
| D | D1 | D2 | D3 | D4 | D5 | D6 | D7 | a | b | H | |
| 1 | M20x1.5 | 40 | 36 | 31 | 25 | 22 | 18 | 13 | 27 | 4 | 60 120 |
| 2 | 1/2"NPT | 32 | 27 | 21 | 16 | 27 | 4 | ||||
| 3 | M27x2 | 47 | 43 | 38 | 32 | 28 | 22 | 17 | 30 | 4 | |
| 4 | M33x2 | 55 | 51 | 44 | 38 | 36 | 30 | 24 | 40 | 5 | |
| 5 | G1/2" | 39 | 35 | 31 | 25 | 27 | 21 | 16 | 30 | 4 | |
| 6 | G3/4" | 47 | 43 | 38 | 32 | 31 | 25 | 20 | 30 | 4 | |
| 7 | G1" | 55 | 51 | 44 | 38 | 41 | 35 | 30 | 40 | 5 | |
| 8 | M27x2 | 47 | 28 | 22 | 14 | 20 | 4 | 80 140 | |||
| 備注: 1、H=80, 140用于雙金屬;2、H=120、140用于帶保溫層。 | |||||||||||
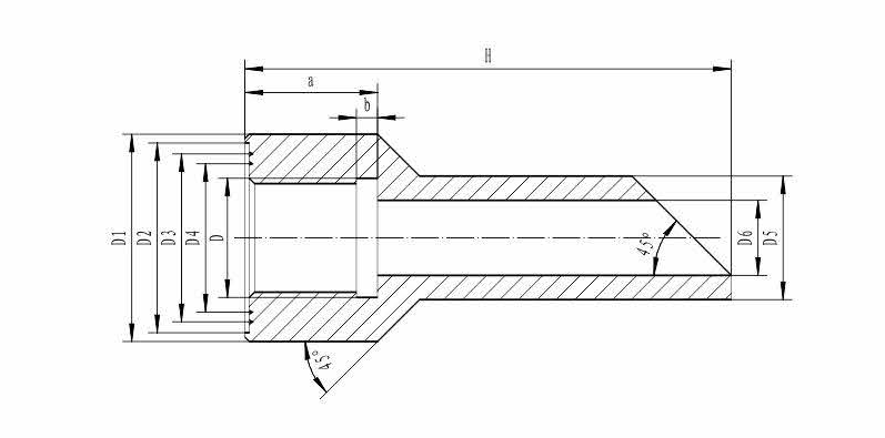
45°連接頭
| 序號 | 尺寸(mm) | |||||||||
|---|---|---|---|---|---|---|---|---|---|---|
| D | D1 | D2 | D3 | D4 | D5 | D6 | a | b | H | |
| 1 | M27x2 | 47 | 43 | 38 | 32 | 28 | 17 | 30 | 4 | 90 150 |
| 2 | M33x2 | 55 | 51 | 44 | 38 | 36 | 24 | 40 | 5 | |
| 3 | G1/2" | 39 | 35 | 31 | 25 | 27 | 16 | 30 | 4 | |
| 4 | G3/4" | 47 | 43 | 38 | 32 | 31 | 20 | 30 | 4 | |
| 5 | G1" | 55 | 51 | 44 | 38 | 41 | 30 | 40 | 5 | |
| 6 | M27x2 | 47 | 28 | 14 | 20 | 4 | 110 | |||
| 備注: 1、H=110用于雙金屬; 2、H=150用于帶保溫層。 | ||||||||||
推薦產品